計算式プラグインで、年度計算を行ってみます。
概要
年度開始日が月の途中の年度計算を行います。
- 年度開始日が 3月21日
- 年度判定として、前年度・当年度・翌年度・翌々年度を設定
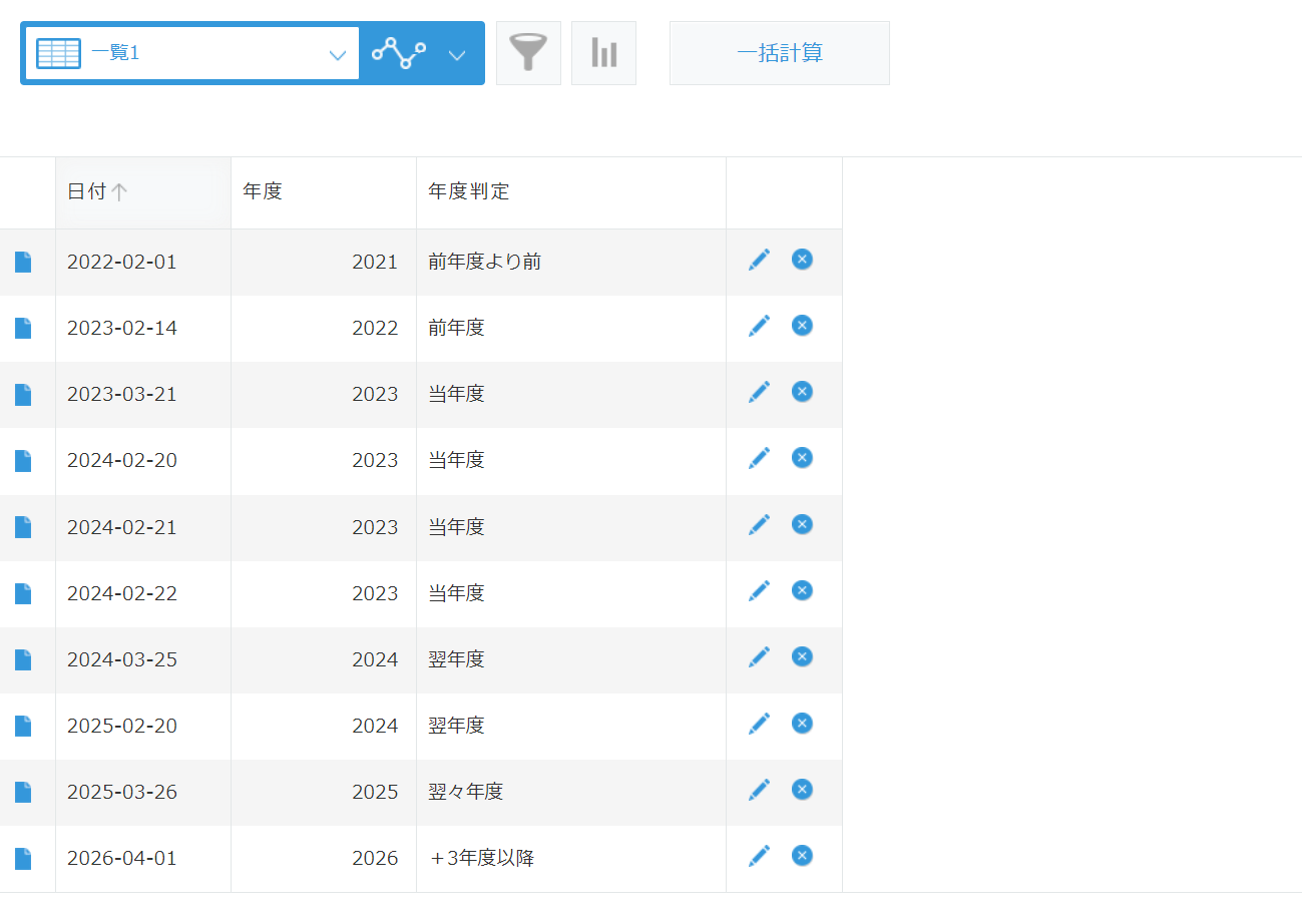
操作例
2024-02-11 に操作
プラグイン設定
- 年度: 日付の年から年度開始日前は、-1 する
- 年度判定: 当日の年度を計算してから比較
.JS
// 年度 NUMBER
IF(日付,
DATE_FORMAT(日付,"YYYY")
- IF(DATE_FORMAT(日付,"MM-DD")>="03-21",0,1)
)
// 年度判定 SINGLE_LINE_TEXT
LET(年度開始月日,"03-21",
当日年度, DATE_FORMAT("TODAY","YYYY")
- IF(DATE_FORMAT("TODAY","MM-DD")>=年度開始月日,0,1),
差分, 年度-当日年度,
IFS(
年度="","日付未選択",
差分<-1, "前年度より前",
差分=-1,"前年度",
差分=0,"当年度",
差分=1,"翌年度",
差分=2,"翌々年度",
"+3年度以降"
)
)


