算式自動採番プラグイン で、複数項目の自動採番を行ってみます。
ステータス毎の月別採番や、区分毎などいろいろな組み合わせで自動採番が可能です。
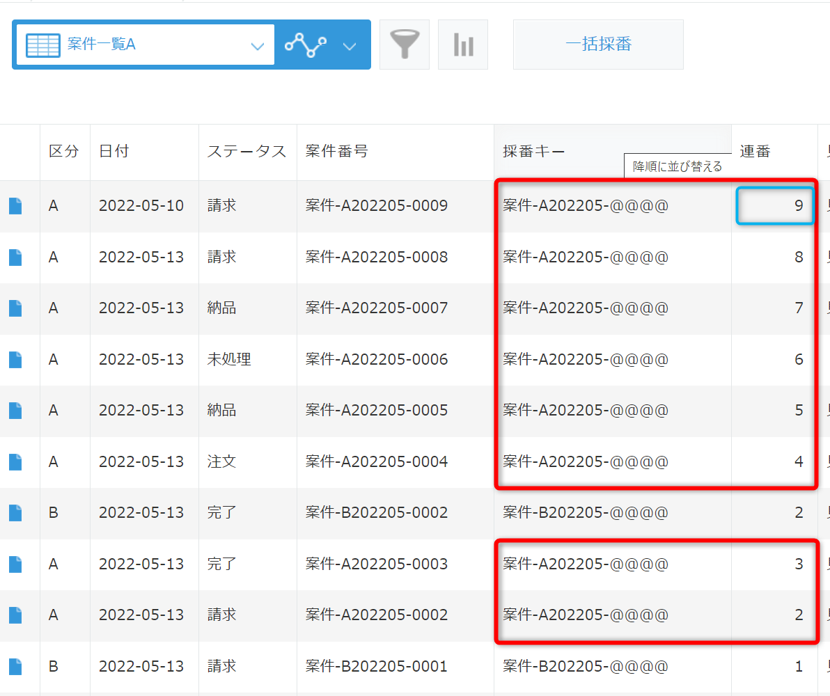
アプリの自動採番例
ステータス(案件、見積、注文、納品、請求)毎の自動採番と区分(A,B,C,D)毎の通番の例です。
ステータス遷移と自動採番の操作例
アプリのフォーム設定
番号ごとに、番号(文字列)、採番キー(文字列)、連番(数値)を用意します。
プロセス管理
案件、見積、注文、納品、請求、完了のステータスを設定
算式採番プラグインの設定
番号の種類ごとに、番号、採番キー、連番を割り当て、計算式を指定します。
採番キー、連番は、通常は非表示にします。
採番方法
計算式で文字列と日付、項目の値などを組み合わせて採番キーを作成し、
採番キーで対象アプリの最大値を取得して、自動採番します。
- 案件番号: レコード追加時に自動採番
- 採番 計算式:"案件-"&区分&DATE_FORMAT("TODAY","YYYYMM")&"-@@@@"
- 区分と当日の年月毎の採番。番号は4桁
- 採番条件: レコード追加時の自動採番は、未設定
- 採番 計算式:"案件-"&区分&DATE_FORMAT("TODAY","YYYYMM")&"-@@@@"
- 見積番号: ステータスが"見積"時に自動採番
- 採番 計算式:"見積-"&区分&DATE_FORMAT("TODAY","YYYYMM")&"-@@@@"
- 区分と当日の年月毎の採番。番号は4桁
- 採番条件: ステータス="見積"
- ステータスが"見積"時に自動採番
- 採番 計算式:"見積-"&区分&DATE_FORMAT("TODAY","YYYYMM")&"-@@@@"
- 注文、納品、請求の番号は、見積番号と同様
- 区分別番号: レコード追加時に自動採番
- 採番 計算式:区分&"-@@@@@@@"
- 区分毎の採番。番号は7桁
- 採番 計算式:区分&"-@@@@@@@"
案件番号の自動採番例
計算式: "案件-"&区分&DATE_FORMAT("TODAY","YYYYMM")&"-@@@@"
区分"A"で、当日 2022-05-12 で計算すると、
- 採番キー: 「案件-A202205-@@@@」
"@@@@"は、自動採番する桁数を@ の数で指定しています。
※年月が変わると、採番キーが変わるので、連番も初期値から採番されます。
採番キー「案件-A202205-@@@@」で、連番が最大のレコードを取得して+1して採番
区分別番号の自動採番例
計算式: 区分&"-@@@@@@@"
区分"A"で、で計算すると、
- 採番キー: 「A-@@@@@@@」
※区分毎に、採番キーが変わるので、区分ごとに初期値から採番されます。







