1.はじめに
本記事は、Microsoft 365を利用するにあたって、まず最初に実施する作業であろうカスタムドメインの登録に関して、説明します。さらに、最近ではカスタムドメインの登録時に、メールを利用する場合は、メール送信ドメイン認証のSPF, DKIM , DMARCも併せて設定する必要性がありますので、こちらもセットでご説明する記事です。
2024年6月1日以降、Googleの新ガイドラインによって、Googleのメール送信者の条件(Gmailにおける受信の条件)に、SPF, DKIMが必須扱いになりました。
そのため、Microsoft 365のExchange Onlineを利用する際には、これらのメール送信ドメイン認証は、必須の設定になりつつあります。
2.SPF, DKIM, DMARCとは
SPF, DKIM, DMARCとは、メールの送信ドメイン認証の技術です。そのため、メールの送信者側でいくつかの設定が必要となります。
なお、Exchange OnlineではSPF, DKIM, DMARCの3つとも利用することができます。ただし、DNSサーバに必要なレコードを追加することが必要になります。
2-1.SPFとは
SPFとは、Sender Policy Frameworkの略称で、IPアドレスを利用して、メールの送信者が詐称されていないか確認します。
具体的には、メールサーバのIPアドレスを、ドメインを登録しているDNSサーバに、SPFレコードとして登録します。そして、メールの受信者は、メール受信時に送信元メールサーバのIPアドレスをSPFレコードで照会し、確認をおこなうというものです。
2-2.DKIM
DKIMとは、DomainKeys Identified Mailの略称で、電子署名を利用して、メールの送信元が詐称されていないかを確認します。
具体的には、メールの送信者側が、送信するメールに電子署名を付与し、メールの受信者側がメール受信時にその電子署名を検証し、なりすましやメール改ざんを検知します。
2-3.DMARC
DMARCとは、Domain-based Message Authentication、Reporting and Conformanceの略称です。
先ほどのSPFとDKIMの認証結果を利用し、なりすましかどうかを判定し、送信者側が受信者側に認証失敗時の推奨アクションをDNS上に宣言しておくというものです。
3 カスタムドメインの取得からDKIM, DMARC登録
3-1.MyDNS.jp
MyDNS.jpとは、ダイナミックDNSを利用するサイトで、独自のサブドメインを無料で取得することができます。
以下サイトより、アカウントの登録のみで、クレジットカードは不要で利用することが可能となっております。
2024年7月時点で、利用させて頂けるサブドメインのリストは、以下キャプチャの通りとなっております。
TLD(トップレベルドメイン)と2LD(セカンドレベルドメイン)も独自にしたい場合は、他のDNSサービスを利用する必要がありますが、Microsoft 365 (Entra ID)のカスタムドメインの登録検証のみであれば、特に問題なく利用することができます。
ただし、IPアドレスの通知というドメインに紐づくIPアドレスを、MyDNS.jp側に通知し、ドメインのレコードに自動適用させる必要があります。つまり、利用中の自宅のIPアドレスがDNSに登録されて、公開されることになりますので、その点を注意する必要があります。
3-2.独自のサブドメインの取得
それでは、MyDNS.jpでアカウント登録を完了しておきます。
その後、サブドメインを利用できるかの確認を致します。「DOMAIN INFO」のページの下部まで移動します。
リストにあったサブドメインのリストの1つを選び、ドメインを追加します。
このとき、すでに誰かが利用されている場合もあるので、とりあえず、ドメインだけ入力して、確認を押してみましょう。
利用可能でああれば、「送信」を押して、てDNSレコードの登録完了です。
注意
MyDNS.JPにアクセスしているデバイスのアクセス元IPアドレスが、DNSレコードに登録されます。
そのため、公開されても問題ないIPアドレスである必要があり、セキュリティに関しては、十分な注意をする必要があります。
3-3.Microsoft 365管理センターで、カスタムドメインの登録
それでは、Microsoft 365管理センターに移動し、「設定 > ドメイン」から「ドメインの追加」を選択します。
先ほど、MyDNS.jpで取得したドメイン名を入力します。入力後、「このドメインを使用する」をクリックします。
次に、「ドメインのDNSレコードにTXTレコードを追加する」にチェックを入れて、「続行」をクリックします。
レコードの所有確認画面となります。Hostnameのところに、[@]を入力し、Typeは[TXT]にして、画面上のレコードの値の情報を入力します。
所有権確認が完了すると、「自分のDNSレコードを追加する」を選ぶことができるようになります。
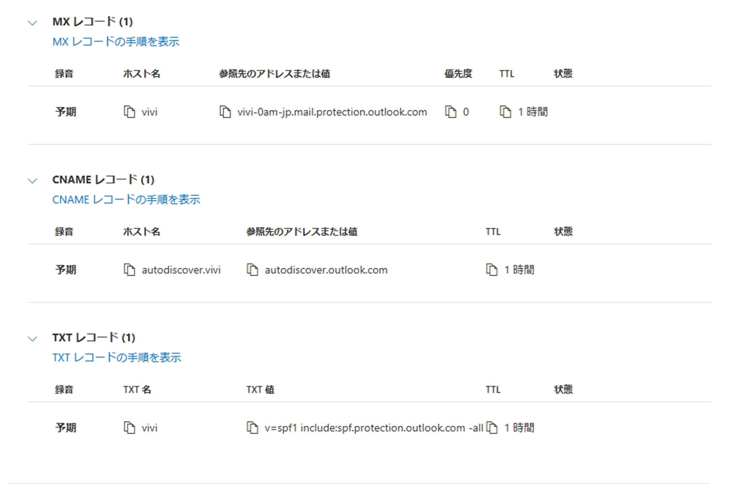
ここからは、Exchange OnlineやDKIM、IntuneのためのDNSレコードの登録作業となり、以下のような情報が表示されます。これらをMyDNS.jpの方に登録します。
以下のように登録します。注意点としては、MXレコードは他のレコードとは異なり、中央部分に入力欄があります。そして、「selector1._domainkey と selector2._domainkey」のレコードも登録することで、DKIMの設定も完了することができ、自動的にMicrosoft Defender Portalにも反映されています。
上記設定を完了して、Microsoft 365管理センター側で進めると、ドメインのセットアップ完了の画面となります。もし、入力が違っていた場合は、セットアップが完了にならず、どこが間違っているか確認することも可能です。
3-4.Microsoft Defenderで、DKIMの確認
次は、Defender Portalに移動します。ここで、DKIMの設定の確認をします。
「メールとコラボレーション > ポリシーとルール」に移動します。
「脅威ポリシー」を選択します。
「DKIM」を選択し、対象となるドメインの列をクリックします。
すでに有効になっているようなので、「閉じる」を選択します。
なお、ここで、有効になっていない場合は、DKIMキーの作成を実行し、DNSレコードの追加をもって、DKIM署名が有効化することになります。今回は、先ほどのカスタムドメインの追加の作業時に、DKIM署名が有効化となり、必要なドメイン登録が完了となっていました。
3-5.DMARCの設定
最後は、DMARCの設定となり、DNSレコードの登録が必要となります。
例えば、以下のようなDNSレコードを登録することで、利用することができます。
| Hostname | Type | Content |
|---|---|---|
| _dmarc | TXT | v=DMARC1; p=none; rua=mailto:rua@example.com |
- Pタグは、none、quarantine、rejectがあり、認証できない場合におけるメールの処理方法を定義します。今回はnoneにして、認証失敗時のアクションが未定義という状態となります。
- ruaタグは、Reporting URL for aggregate dataの略で、DMARCが集計したSPF、DKIMの認証結果をruaタグで指定したメールアドレスに送付するというタグになります。
4.動作確認
動作確認のため、ユーザを作成し、Exchange Onlineが利用できるライセンスを適用します。
outlook webから、gmailにメールを送ってみます。
ドメイン評価の問題かと思いますが、迷惑メールに届きましたが、一応受信することができました。
メールに対して、「メールのソースを表示」を選択します。
SPF, DKIM, DMARCの3つが、PASSになっていましたので、無事設定完了です。
5.おわりに
M365において、カスタムドメインからメールのドメイン認証のSPF, DKIM, DMARCまで実施することができました。昨今の潮流を考えると、DKIM, DMARCの設定までは、最低限必須ですね。




















